Cùng A&G Việt Nam tìm hiểu quy định về chiều cao tầng nhà ở riêng lẻ và giải đáp những câu hỏi thường gặp trong quy định xây dựng nhà ở, giúp gia chủ nắm rõ pháp lý, chủ động trong quá trình thiết kế và thi công, đồng thời hạn chế tối đa các rủi ro phát sinh khi xây dựng công trình.
Cách tính chiều cao và số tầng nhà theo quy định hiện hành
Theo Thông tư số 07/2019/TT-BXD ngày 07/11/2019 của Bộ Xây dựng về phân loại, phân cấp công trình xây dựng và áp dụng trong hoạt động đầu tư xây dựng, cách tính chiều cao và số tầng nhà ở được quy định rõ ràng nhằm làm căn cứ cho công tác thiết kế, xin giấy phép xây dựng và thi công công trình.
Việc hiểu đúng các khái niệm này giúp gia chủ hạn chế rủi ro pháp lý, tránh sai phạm về trật tự xây dựng và đảm bảo công trình phù hợp với quy hoạch đô thị.
1. Cách tính chiều cao nhà ở, công trình
Chiều cao nhà ở, công trình được xác định từ mặt đất xây dựng đến điểm cao nhất của công trình, bao gồm cả mái tum hoặc mái dốc. Đây là nguyên tắc quan trọng trong việc xác định chiều cao tối đa cho phép khi thiết kế nhà ở riêng lẻ, nhà phố hay biệt thự.
Trong trường hợp mặt đất xây dựng có nhiều cao độ khác nhau, cao độ thấp nhất của mặt đất tự nhiên sẽ được sử dụng làm mốc để tính chiều cao nhà. Quy định này nhằm đảm bảo sự thống nhất trong quản lý xây dựng và tránh tình trạng lợi dụng chênh lệch địa hình để nâng chiều cao công trình vượt quy định.

Ví dụ, một ngôi nhà có 1 tầng hầm, 1 tầng trệt, 1 tầng lầu và 1 tầng mái tum, với tổng chiều cao đo từ mặt đất xây dựng đến đỉnh mái là 7,5m, thì chiều cao nhà ở được xác định là 7,5m, không phụ thuộc vào số lượng tầng hay công năng sử dụng bên trong.
Bên cạnh đó, pháp luật cũng quy định rõ một số hạng mục không được tính vào chiều cao nhà, bao gồm cột ăng ten, cột thu sét, thiết bị hấp thụ năng lượng mặt trời, bể nước kim loại và các thiết bị kỹ thuật lắp đặt trên mái.
Những hạng mục này mang tính phục vụ kỹ thuật, không làm thay đổi quy mô kiến trúc chính của công trình nên được loại trừ khi tính chiều cao xây dựng.
2. Cách tính số tầng nhà ở, công trình
Số tầng nhà ở, công trình được tính dựa trên toàn bộ các tầng trên mặt đất, bao gồm cả tầng trệt và tầng lửng (nếu có). Trong khi đó, tầng áp mái chỉ sử dụng cho mục đích kỹ thuật sẽ không được tính vào số tầng của công trình.
Chẳng hạn, một ngôi nhà có 1 tầng hầm, 1 tầng trệt, 2 tầng lầu và 1 tầng mái tum thì số tầng được tính là 4 tầng, do tầng hầm không thuộc phần tầng trên mặt đất và mái tum chỉ được xem xét theo điều kiện diện tích, công năng sử dụng.
Ngoài cách tính trực tiếp theo cấu trúc nhà, số tầng công trình còn phụ thuộc vào chiều cao tối đa cho phép theo quy hoạch xây dựng.
.png)
Ví dụ, nếu quy hoạch quy định chiều cao tối đa của một công trình là 50m, trong khi chiều cao trung bình mỗi tầng là 3,5m, thì công trình đó có thể xây dựng khoảng 14 tầng, đảm bảo không vượt quá giới hạn cho phép.
Việc nắm vững quy định về cách tính chiều cao nhà và số tầng nhà ở không chỉ giúp quá trình xin giấy phép xây dựng diễn ra thuận lợi mà còn là cơ sở quan trọng để thiết kế kiến trúc hợp lý, thi công đúng pháp luật và sử dụng công trình an toàn, bền vững lâu dài.
Mức xử lý hành vi vi phạm quy định về chiều cao tầng nhà riêng lẻ
Theo quy định pháp luật hiện hành, hành vi xây dựng nhà ở riêng lẻ không đúng quy định về chiều cao tầng, xây dựng vượt tầng hoặc sai nội dung giấy phép xây dựng sẽ bị xử phạt hành chính theo Khoản 2 Điều 15 Nghị định 139/2017/NĐ-CP của Chính phủ. Cụ thể, mức xử phạt được áp dụng như sau:
-
Phạt tiền từ 3.000.000 đồng đến 5.000.000 đồng đối với hành vi xây dựng chiều cao tầng nhà ở riêng lẻ tại đô thị không đúng nội dung giấy phép xây dựng đã được cấp.
-
Phạt tiền từ 5.000.000 đồng đến 10.000.000 đồng đối với hành vi xây dựng nhà ở riêng lẻ sai chiều cao tầng trong khu bảo tồn, khu di tích lịch sử – văn hóa hoặc các công trình xây dựng không thuộc trường hợp quy định tại điểm a và điểm c Khoản 2 Nghị định 139/2017/NĐ-CP.
-
Phạt tiền từ 20.000.000 đồng đến 30.000.000 đồng đối với các công trình xây dựng có yêu cầu lập báo cáo kinh tế kỹ thuật hoặc dự án đầu tư xây dựng, nhưng thi công sai chiều cao tầng theo giấy phép xây dựng được phê duyệt.
Ngoài hình thức xử phạt bằng tiền, cá nhân hoặc tổ chức vi phạm còn bị buộc tháo dỡ phần công trình xây dựng sai phép, xây dựng vượt chiều cao tầng cho phép theo đúng quy định của pháp luật về xây dựng.
.jpg)
Trong trường hợp hành vi vi phạm quy định về chiều cao tầng nhà riêng lẻ gây hậu quả nghiêm trọng, ảnh hưởng đến tài sản, tính mạng hoặc sức khỏe của người khác, người vi phạm còn có thể bị truy cứu trách nhiệm hình sự theo quy định của pháp luật.
Để tránh các rủi ro pháp lý và thiệt hại không đáng có, người dân khi xây nhà ở riêng lẻ cần thực hiện đầy đủ thủ tục xin giấy phép xây dựng, đồng thời tuân thủ nghiêm ngặt các quy định về số tầng, chiều cao tầng nhà ở theo nội dung giấy phép được cơ quan có thẩm quyền cấp phép.
Quy định về chiều cao tầng nhà ở riêng lẻ và nhà cao tầng theo Luật Xây dựng
1. Quy định về chiều cao tầng nhà cao tầng
Theo tiêu chuẩn thiết kế nhà ở cao tầng TCXDVN 323:2004 do Bộ Xây dựng ban hành, quy định này được áp dụng cho việc thiết kế nhà ở dạng căn hộ có chiều cao từ 9 tầng đến 40 tầng. Đối với các công trình nhà ở dưới 9 tầng hoặc nhà ở tập thể kiểu ký túc xá, chủ đầu tư và đơn vị thiết kế có thể tham khảo tiêu chuẩn này để áp dụng linh hoạt trong thực tế.

Nhằm đảm bảo yêu cầu an toàn phòng cháy chữa cháy cho nhà ở cao tầng, hệ thống đường dành cho xe chữa cháy phải có chiều rộng thông thủy tối thiểu 3,5m và chiều cao thông thủy không nhỏ hơn 4,25m. Đây là điều kiện bắt buộc để lực lượng cứu hỏa có thể tiếp cận công trình khi xảy ra sự cố.
Đối với kiến trúc mặt đứng, từ tầng 6 trở lên không được thiết kế ban công nhô ra mà chỉ được phép bố trí lô gia. Lan can lô gia phải là dạng kín, không hở chân và có chiều cao tối thiểu 1,2m nhằm đảm bảo an toàn trong quá trình sử dụng, đặc biệt đối với nhà chung cư và nhà cao tầng trong khu dân cư đông đúc.
Chiều cao thông thủy của các phòng ở trong nhà cao tầng phải được thiết kế không nhỏ hơn 3m và không vượt quá 3,6m. Chiều cao thông thủy được tính từ mặt sàn hoàn thiện đến mặt dưới của trần. Riêng khu vực bếp và phòng vệ sinh có thể thiết kế thấp hơn để phù hợp công năng nhưng vẫn phải đảm bảo chiều cao tối thiểu 2,4m theo quy định xây dựng hiện hành.
Đối với hệ thống giao thông đứng, chiều cao của mỗi đợt thang không được vượt quá 1,8m và bắt buộc phải bố trí chiếu nghỉ. Chiều rộng chiếu nghỉ phải lớn hơn hoặc bằng chiều rộng vế thang để đảm bảo an toàn khi di chuyển.

Cầu thang trong nhà ở cao tầng phải có ít nhất một bên tay vịn, trong đó chiều cao tay vịn tính từ mũi bậc không được nhỏ hơn 0,9m. Bên cạnh đó, chiều cao bậc thang tối đa là 150mm và chiều rộng bậc không được nhỏ hơn 300mm nhằm đảm bảo sự thuận tiện và an toàn cho người sử dụng.
Chiều cao thông thủy của tầng kỹ thuật được xác định theo từng trường hợp cụ thể, phụ thuộc vào loại thiết bị và hệ thống kỹ thuật được bố trí, đồng thời phải tính đến điều kiện vận hành và bảo trì. Đối với tầng hầm, chiều cao thiết kế không nên nhỏ hơn 2,2m.
Riêng các không gian phục vụ sinh hoạt cộng đồng, hội họp hoặc chức năng công cộng khác, chiều cao tầng cần được xác định theo yêu cầu sử dụng thực tế.
Hệ thống thông gió và thông hơi trong nhà ở cao tầng phải được thiết kế đảm bảo thoát khí hiệu quả. Các ống thông hơi và ống thông gió bắt buộc phải nhô lên trên mái với chiều cao tối thiểu 0,7m và cách cửa sổ hoặc cửa hút gió ít nhất 3m theo phương ngang. Trên đỉnh ống cần có giải pháp kỹ thuật nhằm tránh hiện tượng thoát khí ngược.

Buồng thu rác thường được bố trí tại tầng một, ngay bên dưới đường ống đổ rác. Chiều cao thông thủy của buồng thu rác phải đạt tối thiểu 2,5m để đảm bảo điều kiện vệ sinh và vận hành. Bên cạnh đó, hệ thống cấp nước trong nhà cao tầng cần tận dụng tối đa áp lực từ mạng lưới cấp nước bên ngoài.
Trường hợp áp lực không đáp ứng yêu cầu, cần thiết kế hệ thống cấp nước phân vùng để đảm bảo lưu lượng và áp lực ổn định. Áp lực làm việc của các thiết bị vệ sinh không được vượt quá 60m cột nước, trong khi áp lực tự do của họng chữa cháy trong nhà phải đảm bảo chiều cao cột nước tối thiểu 6m.
Cuối cùng, nhà ở cao tầng bắt buộc phải được chia thành các vùng hoặc khoang ngăn cháy theo cả chiều rộng, chiều dài và chiều cao công trình. Việc bố trí các vùng ngăn cháy đóng vai trò quan trọng trong việc hạn chế cháy lan, đảm bảo an toàn tính mạng và tài sản cho cư dân sinh sống trong tòa nhà.
2. Quy định về chiều cao tầng nhà trong ngõ
Theo quy định xây dựng hiện hành, nhà ở liền kề xây mới trong ngõ, hẻm có chiều rộng mặt tiền nhỏ hơn 6m chỉ được phép xây dựng tối đa 4 tầng. Quy định này nhằm đảm bảo an toàn kết cấu, phòng cháy chữa cháy và giữ gìn mỹ quan đô thị tại các khu dân cư có mật độ xây dựng cao.

3. Quy định về chiều cao tầng nhà ở liền kề
Quy hoạch xây dựng đô thị là căn cứ pháp lý quan trọng để xác định chiều cao nhà ở liền kề, số tầng được phép xây dựng và hình thức kiến trúc công trình. Tùy từng khu vực, quy hoạch sẽ quy định cụ thể nhà ở liền kề được xây bao nhiêu tầng, chiều cao tối đa là bao nhiêu mét.
Trong trường hợp chưa có quy hoạch chi tiết, chiều cao nhà ở liền kề được áp dụng theo quy định chung, cụ thể:
-
Chiều cao công trình không vượt quá 4 lần chiều rộng nhà, không tính giàn hoa và các chi tiết kiến trúc trang trí. Quy định này giúp đảm bảo an toàn, hạn chế che chắn ánh sáng và thông gió tự nhiên.
-
Đối với dãy nhà liền kề, nếu cho phép xây dựng không đồng đều về chiều cao thì mức chênh lệch không quá 2 tầng so với chiều cao trung bình của cả dãy. Riêng độ cao tầng 1 phải được thiết kế đồng nhất để đảm bảo tính liên kết và thẩm mỹ tổng thể.
-
Với nhà ở liền kề có sân vườn, chiều cao công trình không vượt quá 3 lần chiều rộng nhà, nhằm giữ sự hài hòa giữa không gian xây dựng và diện tích sân vườn.
-
Trường hợp tuyến đường có lộ giới lớn hơn 12m, chiều cao nhà ở liền kề được khống chế theo góc vát 45 độ, trong đó chiều cao mặt tiền không vượt quá chiều rộng đường.
-
Đối với tuyến đường có lộ giới nhỏ hơn hoặc bằng 12m, chiều cao công trình không vượt quá giao điểm của đường với góc vát 45 độ, đồng thời chiều cao mặt tiền không lớn hơn chiều rộng đường để đảm bảo an toàn giao thông và cảnh quan đô thị.
.jpg)
Ngoài ra, chiều cao nhà ở liền kề còn phụ thuộc vào diện tích và kích thước từng lô đất, cụ thể:
-
Lô đất từ 30m² đến dưới 40m²: Mặt tiền lớn hơn 3m, chiều sâu so với chỉ giới xây dựng trên 5m, được phép xây dựng không quá 4 tầng + 1 tum, tổng chiều cao công trình dưới 16m.
-
Lô đất từ 40m² đến 50m²: Mặt tiền trên 3m và dưới 8m, chiều sâu trên 5m, được phép xây không quá 5 tầng + 1 tum hoặc có mái chống nóng, tổng chiều cao dưới 20m.
-
Lô đất trên 50m²: Mặt tiền lớn hơn 8m, chiều sâu trên 5m hoặc công trình nằm trong khu vực quy hoạch hạn chế phát triển, có thể xây dựng tối đa 6 tầng.
Trong trường hợp nhà ở liền kề có khoảng lùi, gia chủ có thể được phép tăng chiều cao công trình theo mức tối đa đã được phê duyệt trong quy hoạch xây dựng và quy định kiến trúc cảnh quan của khu vực.
Việc nắm rõ quy định chiều cao tầng nhà trong ngõ và nhà ở liền kề sẽ giúp gia chủ chủ động trong quá trình xin giấy phép xây dựng, thiết kế kiến trúc và thi công nhà ở đúng pháp luật, tránh rủi ro phát sinh về sau.
4. Quy định về chiều cao tầng nhà biệt thự theo tiêu chuẩn thiết kế
Chiều cao tầng nhà biệt thự là yếu tố quan trọng, ảnh hưởng trực tiếp đến thẩm mỹ kiến trúc, công năng sử dụng và sự thông thoáng của không gian sống. Tùy theo phong cách thiết kế biệt thự và khu vực chức năng, chiều cao tầng sẽ có những quy chuẩn khác nhau nhằm đảm bảo sự hài hòa và đẳng cấp cho công trình.
Chiều cao tầng nhà biệt thự theo phong cách kiến trúc
Biệt thự hiện đại
-
Tầng 1: 3,6 – 3,9m
- Các tầng trên: 3,4 – 3,6m
→ Phù hợp với xu hướng thiết kế mở, tối ưu ánh sáng và thông gió tự nhiên.
Biệt thự tân cổ điển và biệt thự cổ điển
Biệt thự lâu đài
→ Đây là loại hình biệt thự yêu cầu chiều cao tầng nhà lớn để thể hiện sự uy nghi, hoành tráng và giá trị biểu tượng của công trình.
Chiều cao tầng nhà biệt thự theo khu vực chức năng
-
Phòng khách biệt thự: 3,6 – 4m Không gian trung tâm cần chiều cao lớn để tạo cảm giác rộng rãi và đón tiếp trang trọng.
-
Phòng bếp, phòng ăn, phòng ngủ, phòng làm việc: 3 – 3,3m: Đảm bảo sự thoải mái trong sinh hoạt hằng ngày và tiết kiệm chi phí xây dựng.
-
Phòng thờ: Chiều cao không thấp hơn các phòng chức năng khác, thể hiện sự tôn nghiêm và yếu tố phong thủy.
-
Phòng tắm, nhà vệ sinh, nhà kho: 2,4 – 2,77m: Phù hợp với tiêu chuẩn kỹ thuật và tối ưu không gian phụ trợ.
Việc tuân thủ đúng quy định chiều cao tầng nhà biệt thự không chỉ giúp công trình đạt chuẩn về kỹ thuật, mà còn nâng cao giá trị thẩm mỹ, sự tiện nghi và độ bền vững lâu dài. Khi thiết kế và xây dựng biệt thự, gia chủ nên kết hợp hài hòa giữa quy chuẩn, phong cách kiến trúc và nhu cầu sử dụng thực tế để đạt hiệu quả tối ưu nhất.
Chiều cao tầng biệt thự được tính toán theo điều kiện khí hậu
Chiều cao tầng nhà biệt thự không chỉ ảnh hưởng đến thẩm mỹ kiến trúc mà còn tác động trực tiếp đến khả năng thông gió, chống nóng và hiệu quả sử dụng năng lượng. Vì vậy, khi thiết kế biệt thự, yếu tố khí hậu từng vùng cần được cân nhắc kỹ lưỡng.
-
Khu vực miền Bắc và miền Trung; Đặc trưng khí hậu nhiệt đới gió mùa với mùa hè nóng ẩm, mùa đông lạnh. Do đó, chiều cao tầng biệt thự nên được thiết kế ở mức vừa phải để hạn chế thất thoát nhiệt và tiết kiệm chi phí sử dụng điều hòa. Chiều cao tầng phù hợp thường dao động từ 3 đến 3,6m, đảm bảo không gian sống thông thoáng nhưng vẫn tối ưu năng lượng.
-
Khu vực miền Nam: Khí hậu nhiệt đới với hai mùa mưa và khô rõ rệt, nắng nóng kéo dài và độ ẩm cao. Vì vậy, chiều cao tầng nhà biệt thự thường được thiết kế cao hơn để tăng khả năng lưu thông không khí, giảm cảm giác oi bức và hạn chế ẩm mốc. Mức chiều cao lý tưởng nằm trong khoảng 3,6 đến 4,2m.
Chiều cao tầng nhà biệt thự theo phong thủy
Theo quan niệm phong thủy, chiều cao tầng nhà nếu quá cao hoặc quá thấp đều có thể tạo ra sát khí, ảnh hưởng đến sinh khí và vận may của gia đình. Do đó, việc tính toán chiều cao tầng cần hài hòa giữa công năng sử dụng và yếu tố phong thủy.
Trong phong thủy, mỗi tầng nhà được chia thành ba phần:
-
Tầng thái âm
-
Tầng thái hòa
-
Tầng thái dương
Trong đó, tầng thái hòa được xem là tầng sinh khí tốt nhất, có chiều cao lý tưởng khoảng 1,8 đến 2,5m, phù hợp với tỷ lệ cơ thể và sinh hoạt của con người.
Để xác định chiều cao thông thủy nhà biệt thự phù hợp, các chuyên gia phong thủy và kiến trúc đưa ra một số khuyến nghị:
-
Phòng có diện tích dưới 30m² nên có chiều cao thông thủy tối thiểu 3,15m.
-
Phòng có diện tích từ 30m² trở lên nên thiết kế chiều cao thông thủy trong khoảng 3,25 đến 4,1m để đảm bảo sự cân đối và thông thoáng.
Ngoài ra, nhiều gia chủ hiện nay còn sử dụng thước Lỗ Ban để tính toán chiều cao tầng biệt thự theo phong thủy, giúp lựa chọn kích thước rơi vào các cung tốt, mang lại tài lộc, sức khỏe và sự hanh thông cho gia đình.
5. Quy định về chiều cao tầng nhà phố
Chiều cao tầng nhà phố là yếu tố quan trọng, ảnh hưởng trực tiếp đến thẩm mỹ kiến trúc, công năng sử dụng và khả năng tiết kiệm năng lượng của công trình. Việc nắm rõ quy định chiều cao tầng nhà phố và cách tính chiều cao tầng nhà sẽ giúp gia chủ chủ động hơn khi thiết kế và xây dựng nhà ở.
Cách tính chiều cao tầng nhà phố theo số bậc cầu thang
Chiều cao một tầng thường tỷ lệ thuận với diện tích xây dựng và số bậc cầu thang. Đối với nhà phố, cầu thang thường được thiết kế với độ dốc khoảng 33 đến 36 độ, chiều cao mỗi bậc dao động từ 16.5cm đến 18cm để đảm bảo việc di chuyển thuận tiện.
Số bậc cầu thang phổ biến hiện nay là 13 bậc, 17 bậc hoặc 21 bậc. Nếu bậc quá cao sẽ gây mỏi chân, bất tiện trong sinh hoạt hằng ngày, đặc biệt với người già và trẻ nhỏ.
Với nhà phố xây từ 2 tầng trở lên, chiều cao tầng nhà phố thường được tính toán theo thước Lỗ Ban, kết hợp hài hòa giữa diện tích cầu thang và tổng thể không gian.
-
Đối với nhà mặt tiền hẹp, nhà lô phố nhỏ, số bậc cầu thang bị hạn chế, nên lựa chọn chiều cao tầng khoảng 3m đến 3.25m và đảm bảo các tầng có chiều cao tương đương nhau.
-
Với nhà phố có mặt tiền rộng trên 5m, gia chủ có thể chọn chiều cao tầng từ 3.2m đến 3.4m để không gian thông thoáng và cân đối hơn.
Cách tính chiều cao tầng nhà phố theo diện tích
Diện tích xây dựng cũng là căn cứ quan trọng trong việc xác định chiều cao tầng.
-
Nhà phố có diện tích từ 100m² đến 150m² thường phù hợp với chiều cao tường từ 3.6m đến 4.5m.
-
Với những ngôi nhà có diện tích lớn hơn, chiều cao tường trung bình nên dao động trong khoảng 3m đến 3.3m để đảm bảo sự cân đối và tiết kiệm chi phí xây dựng.
Cách tính chiều cao tầng nhà phố để tiết kiệm điện năng
Khi thiết kế chiều cao các tầng, gia chủ cần tính toán khoảng không gian hợp lý nhằm hỗ trợ hiệu quả cho hệ thống điều hòa, thông gió và sưởi ấm. Nhà phố có trần quá cao sẽ cần điều hòa và máy sưởi công suất lớn hơn, thời gian làm mát hoặc làm ấm lâu hơn, dẫn đến tiêu tốn nhiều điện năng.
Do đó, việc xác định chiều cao tầng nhà phố hợp lý không chỉ giúp tối ưu công năng sử dụng mà còn góp phần giảm chi phí vận hành, mang lại không gian sống thoải mái và bền vững lâu dài.
Cách tính chiều cao tầng nhà giúp tiết kiệm điện năng
Khi thiết kế và bố trí chiều cao tầng nhà, gia chủ cần tính toán khoảng cách trần hợp lý để tối ưu hiệu quả sử dụng các thiết bị như điều hòa, quạt thông gió hoặc máy sưởi. Chiều cao phòng quá lớn sẽ khiến không khí khó lưu thông đều, dẫn đến việc điều hòa phải hoạt động với công suất cao hơn và thời gian làm mát hoặc sưởi ấm kéo dài, gây tốn điện năng và chi phí vận hành.
Đối với nhà phố, nhà ống, việc kiểm soát chiều cao tầng phù hợp không chỉ giúp không gian dễ chịu hơn mà còn góp phần tiết kiệm điện lâu dài, đặc biệt trong điều kiện khí hậu nóng ẩm như Việt Nam.
Cách tính chiều cao tầng nhà phù hợp với ngân sách xây dựng
Chiều cao tầng ảnh hưởng trực tiếp đến chi phí xây dựng nhà ở. Tầng càng cao thì khối lượng vật liệu càng lớn, từ cột, dầm, thép, bê tông cho đến gạch xây và hoàn thiện. Bên cạnh đó, nhà có chiều cao tầng quá lớn còn phát sinh chi phí vận hành và bảo trì cao hơn trong quá trình sử dụng.
Vì vậy, khi lập kế hoạch xây nhà trọn gói, gia chủ cần cân nhắc kỹ giữa nhu cầu sử dụng, yếu tố thẩm mỹ và khả năng tài chính để lựa chọn chiều cao tầng phù hợp, tránh phát sinh chi phí không cần thiết về lâu dài.
Hiện nay, chiều cao tầng nhà ở thường được chia thành 3 mức phổ biến như sau:
-
Phòng thấp có chiều cao từ 2,4m đến 2,7m, phù hợp với phòng kho, phòng phụ hoặc nhà cải tạo có hạn chế về chiều cao.
-
Phòng tiêu chuẩn có chiều cao từ 3m đến 3,3m, được áp dụng phổ biến cho phòng khách, phòng ngủ trong nhà phố hiện đại, đảm bảo thông thoáng và tiết kiệm chi phí.
-
Phòng cao có khoảng cách sàn từ 3,6m đến 5m, thường sử dụng cho biệt thự, nhà có thiết kế sang trọng hoặc không gian cần tính thẩm mỹ cao, nhưng đi kèm chi phí xây dựng lớn hơn.
Việc tính toán chiều cao tầng nhà hợp lý ngay từ khâu thiết kế sẽ giúp công trình vừa tối ưu công năng sử dụng, vừa tiết kiệm điện năng và ngân sách xây dựng. Với những gia chủ đang có kế hoạch xây mới hoặc cải tạo nhà ở, nên tham khảo ý kiến đơn vị thiết kế thi công chuyên nghiệp để có phương án phù hợp và hiệu quả nhất.
6. Quy định về chiều cao tầng nhà ở khu vực nông thôn
Theo khoản 7 Điều 79 Luật Xây dựng 2014, thiết kế xây dựng nhà ở riêng lẻ tại khu vực nông thôn cần tuân thủ đầy đủ các yêu cầu pháp lý và kỹ thuật nhằm đảm bảo an toàn, công năng và mỹ quan công trình.
Cụ thể:
-
Thiết kế nhà ở riêng lẻ phải tuân thủ các tiêu chuẩn áp dụng và quy chuẩn kỹ thuật xây dựng hiện hành; sử dụng vật liệu xây dựng đúng quy định; đáp ứng yêu cầu về công năng sử dụng, an toàn chịu lực, an toàn trong quá trình sử dụng, phòng chống cháy nổ, bảo vệ môi trường và thích ứng với biến đổi khí hậu.
-
Hộ gia đình được tự thiết kế nhà ở nông thôn trong trường hợp tổng diện tích sàn xây dựng nhỏ hơn 250m², hoặc công trình dưới 3 tầng, hoặc có chiều cao dưới 12m, đồng thời phải phù hợp với quy hoạch xây dựng đã được phê duyệt. Chủ đầu tư chịu hoàn toàn trách nhiệm trước pháp luật về chất lượng thiết kế, mức độ ảnh hưởng đến môi trường và an toàn của các công trình lân cận.
Những quy định này là căn cứ quan trọng để kiểm soát chiều cao tầng nhà ở nông thôn, đảm bảo việc xây dựng diễn ra đồng bộ, an toàn và đúng quy hoạch.
7. Quy định về xây dựng tầng hầm nhà ở
Bên cạnh chiều cao tầng, quy định xây dựng tầng hầm cũng là nội dung được nhiều gia chủ quan tâm khi thiết kế nhà ở:
-
Phần nổi của tầng hầm, tính từ sàn tầng trệt, không được vượt quá 1,2m so với cao độ vỉa hè hiện hữu ổn định.
-
Vị trí đường xuống tầng hầm hay ram dốc phải cách ranh lộ giới tối thiểu 3m. Trường hợp xây bán hầm, độ sâu tối thiểu là 1,5m so với mặt đường; với tầng hầm hoàn toàn, độ sâu phải lớn hơn 1,5m.
-
Đối với nhà ở liên kế có mặt tiền giáp đường có lộ giới nhỏ hơn 6m, không được thiết kế tầng hầm có lối lên xuống dành cho ô tô tiếp cận trực tiếp với đường giao thông.
-
Chiều cao thông thủy tối thiểu của tầng hầm là 2,2m. Chiều cao ram dốc hầm cũng phải lớn hơn 2,2m để đảm bảo an toàn cho các phương tiện lưu thông.
-
Trường hợp tầng hầm có nhiều dầm, cao độ thực tế có thể bị giảm từ 20 đến 30cm, dễ gây bất tiện cho việc di chuyển của xe cộ, do đó cần được tính toán kỹ ngay từ giai đoạn thiết kế.
Việc nắm rõ quy định về chiều cao tầng nhà ở nông thôn và xây dựng tầng hầm sẽ giúp gia chủ chủ động hơn trong quá trình xin giấy phép xây dựng, hạn chế rủi ro pháp lý và đảm bảo công trình được thi công đúng chuẩn ngay từ đầu.
8. Quy định về cao độ nền nhà theo QCVN 01:2021/BXD
Quy định về cao độ nền nhà và thoát nước mặt trong quy hoạch xây dựng được nêu rõ tại Mục 2.16.11 QCVN 01:2021/BXD – Quy chuẩn kỹ thuật quốc gia về quy hoạch xây dựng, ban hành kèm theo Thông tư 01/2021/TT-BXD. Đây là căn cứ pháp lý quan trọng mà gia chủ và đơn vị thiết kế thi công cần tuân thủ khi xây dựng nhà ở, đặc biệt tại khu vực nông thôn và vùng có nguy cơ thiên tai.
Phòng chống thiên tai và thảm họa
Đối với khu dân cư nông thôn hiện hữu, quy hoạch xây dựng cần có giải pháp bảo vệ an toàn trước các rủi ro như lũ quét, ngập lụt. Trường hợp cần thiết phải tổ chức hướng dòng lũ ra khỏi khu dân cư hoặc xem xét phương án di dời phù hợp.
Quy hoạch điểm dân cư nông thôn phải được thực hiện đồng bộ với quy hoạch hệ thống thủy lợi, tiêu thoát lũ, đảm bảo khả năng thoát nước lâu dài. Khi áp dụng giải pháp tôn nền, cao độ nền nhà bắt buộc phải cao hơn mực nước lũ lớn nhất hàng năm tối thiểu 0,3 m nhằm hạn chế ngập úng và bảo vệ công trình.
Đối với các khu vực thường xuyên chịu ảnh hưởng của thiên tai, quy hoạch cần bố trí điểm sơ tán khẩn cấp, tận dụng các công trình công cộng làm nơi tránh bão, lũ. Đồng thời, cần ưu tiên bảo vệ các nguồn nước tự nhiên như sông, hồ, ao phục vụ phòng cháy chữa cháy. Hệ thống giao thông trong khu vực cũng phải đáp ứng yêu cầu cho công tác cứu hộ, cứu nạn.
Quy định về cao độ nền xây dựng
Theo quy chuẩn, phải tổ chức quy hoạch san nền cho các khu đất xây dựng công trình như nhà ở, công trình công cộng, nhà sản xuất và đường giao thông. Các khu đất còn lại được khuyến khích giữ nguyên địa hình tự nhiên nhằm bảo vệ cảnh quan và môi trường.
Việc thiết kế cao độ nền cần tận dụng địa hình sẵn có, hạn chế tối đa khối lượng đào đắp, san lấp, đồng thời bảo vệ cây lâu năm và lớp đất màu. Đây là yếu tố quan trọng giúp công trình bền vững, tiết kiệm chi phí xây dựng và thân thiện với môi trường.
Hệ thống thoát nước mặt
Đối với các khu dân cư có sông, suối chảy qua, cần thực hiện cải tạo, gia cố bờ nhằm chống sạt lở, đảm bảo an toàn cho nhà ở và hạ tầng xung quanh. Với khu dân cư nằm ở sườn đồi, núi, bắt buộc phải bố trí mương đón dòng chảy từ trên cao, tránh để nước mưa chảy tràn qua khu vực sinh sống gây xói lở và ngập úng.
Việc tuân thủ đúng quy định cao độ nền nhà, kết hợp thiết kế hệ thống thoát nước mặt hợp lý không chỉ giúp công trình đáp ứng yêu cầu pháp luật mà còn đảm bảo an toàn, ổn định và giá trị sử dụng lâu dài cho ngôi nhà.
9. Quy định về số tầng được phép xây dựng

Trong đó:
9. Trường hợp ngoại lệ đối với quy định chiều cao tầng nhà ở riêng lẻ
Theo quy định tại Điều 119 Luật Xây dựng 2020, chiều cao tầng nhà ở riêng lẻ được kiểm soát nhằm đảm bảo an toàn kết cấu, cảnh quan đô thị và phù hợp quy hoạch. Cụ thể, quy định chiều cao tầng nhà ở riêng lẻ được áp dụng như sau:
-
Chiều cao xây dựng trung bình của nhà ở 1 tầng là khoảng 3m, tính từ sàn tầng dưới đến sàn tầng trên.
-
Chiều cao tối đa giữa các tầng, áp dụng từ tầng 2 trở lên, không vượt quá 3,4m.
-
Trường hợp có ban công vượt lộ giới, chiều cao tầng tối đa được phép là 3,5m, tính từ cao độ vỉa hè đến chân ban công.
-
Chiều cao tầng tối đa tính từ mặt đất tự nhiên không vượt quá 3,8m.
Tuy nhiên, trong thực tế xây dựng nhà ở riêng lẻ, pháp luật vẫn cho phép áp dụng một số trường hợp ngoại lệ về chiều cao tầng, bao gồm:
-
Nhà ở riêng lẻ trong khu vực bảo tồn, di tích lịch sử – văn hóa: Chiều cao tầng thực hiện theo quy định của pháp luật về bảo tồn và quản lý di tích, đảm bảo không ảnh hưởng đến giá trị lịch sử và cảnh quan khu vực.
-
Nhà ở riêng lẻ xây dựng theo quy hoạch đô thị hoặc quy hoạch xây dựng nông thôn đã được phê duyệt: Chiều cao tầng được áp dụng theo đồ án quy hoạch chi tiết, thay vì áp dụng cứng theo quy định chung.
-
Nhà ở riêng lẻ tại khu vực có điều kiện tự nhiên đặc thù, tiềm ẩn nguy cơ thiên tai như lũ lụt, sạt lở: Chiều cao tầng sẽ tuân thủ các quy định riêng về phòng chống thiên tai nhằm đảm bảo an toàn công trình và con người.
-
Nhà ở riêng lẻ thuộc phạm vi điều chỉnh của pháp luật về quản lý, sử dụng nhà chung cư: Việc xác định chiều cao tầng thực hiện theo quy định chuyên ngành có liên quan.
Bên cạnh đó, Ủy ban nhân dân cấp tỉnh có thẩm quyền ban hành quy định riêng về chiều cao tầng nhà ở riêng lẻ trên địa bàn, căn cứ vào điều kiện hạ tầng, mật độ xây dựng và định hướng phát triển đô thị tại địa phương.
Quy định về chiều cao tầng nhà ở riêng lẻ theo từng địa phương
Việc nắm rõ quy định chiều cao nhà ở riêng lẻ là yêu cầu bắt buộc trước khi khởi công xây dựng. Mỗi địa phương sẽ có quy định cụ thể dựa trên quy hoạch đô thị, mật độ dân cư và hạ tầng kỹ thuật nhằm đảm bảo an toàn, mỹ quan và tính pháp lý cho công trình.
1.1. Quy định chiều cao xây dựng nhà ở TP HCM
Đối với nhà ở mới xây, chủ đầu tư cần tuân thủ đúng quy định chiều cao xây dựng nhà ở tại TP HCM theo quy hoạch được phê duyệt.
Căn cứ theo Quyết định số 14/2018/QĐ-UBND ngày 27/06/2018 của UBND TP HCM, chiều cao nhà ở được xác định theo từng khu vực quy hoạch cụ thể:
Những quy định này nhằm kiểm soát chiều cao công trình, hạn chế quá tải hạ tầng và đảm bảo đồng bộ kiến trúc đô thị.
1.2. Quy định cụ thể về chiều cao nhà ở liền kề
Đối với nhà ở liền kề, chiều cao xây dựng sẽ phụ thuộc vào loại hình quy hoạch và đặc điểm lô đất:
Nhà ở liền kề theo quy hoạch xây dựng
-
Số tầng tối đa không vượt quá 6 tầng.
-
Nhà trong ngõ, ngách được xây tối đa 4 tầng.
-
Chiều cao công trình không được lớn hơn 4 lần chiều rộng mặt tiền nhà (không tính phần trang trí kiến trúc).
Nhà ở liền kề có sân vườn: Chiều cao nhà tối đa bằng 3 lần chiều rộng nhà. Trong một số trường hợp, chiều cao có thể bị điều chỉnh tăng hoặc giảm theo quy định chi tiết của từng khu vực.
Ngoài ra, chiều cao nhà ở liền kề còn phụ thuộc vào bề rộng tuyến đường, tuyến phố tiếp giáp:
-
Áp dụng giới hạn theo góc chéo 45 độ đối với các tuyến đường có bề rộng lớn hơn 12m.
-
Không vượt quá giao điểm giữa công trình và góc chéo 45 độ đối với các tuyến đường có bề rộng nhỏ hơn hoặc bằng 12m.
Việc tuân thủ đúng quy định chiều cao xây dựng nhà ở không chỉ giúp công trình được cấp phép thuận lợi mà còn đảm bảo an toàn lâu dài, tránh rủi ro pháp lý trong quá trình sử dụng.
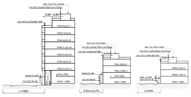
1.3. Quy định về chiều cao nhà ở dân dụng riêng lẻ theo quy định hiện hành
Khi xây dựng nhà ở riêng lẻ, gia chủ cần đặc biệt lưu ý đến quy định về chiều cao nhà ở dân dụng để đảm bảo phù hợp quy hoạch, dễ dàng xin giấy phép xây dựng và tránh các rủi ro pháp lý phát sinh trong quá trình thi công. Dưới đây là những nội dung quan trọng cần nắm rõ.
Quy định chung về chiều cao các tầng nhà ở
-
Chiều cao trung bình của 1 tầng nhà ở dân dụng riêng lẻ là khoảng 3m, phù hợp với công năng sinh hoạt và thông thoáng không gian.
-
Chiều cao tầng tối đa được phép là 3.5m trong trường hợp có ban công nhô ra ngoài chỉ giới đường đỏ.
-
Từ tầng 2 trở lên, chiều cao tối đa giữa các tầng không vượt quá 3.4m.
-
Độ cao tối đa của một tầng nhà không được vượt quá 3.8m theo quy chuẩn xây dựng.
Quy định chiều cao nhà ở theo lộ giới đường
-
Đường lộ giới dưới 3.5m: Chỉ xác định chiều cao nhà bằng thước Lỗ Ban, tính từ mặt đất tầng trệt (tầng 1) đến mặt sàn lầu 1 (tầng 2). Trường hợp này không được phép xây tầng lửng.
-
Độ cao tầng tối đa 5.8m: Áp dụng cho nhà ở riêng lẻ có đường lộ giới từ 3.5m đến dưới 20m. Gia chủ được phép xây tầng lửng, với tổng chiều cao tối đa tính từ mặt sàn tầng trệt đến mặt sàn lầu 1 là 5.8m.
-
Độ cao tầng tối đa 7m: Áp dụng cho nhà ở có đường lộ giới từ 20m trở lên. Trường hợp này được phép bố trí tầng lửng, với tổng chiều cao tối đa từ mặt sàn tầng trệt đến mặt sàn lầu 1 không vượt quá 7m.
Việc tuân thủ đúng quy định chiều cao nhà ở riêng lẻ, đặc biệt là các tiêu chuẩn về lộ giới, tầng lửng và chiều cao tầng, không chỉ giúp công trình hợp pháp mà còn đảm bảo tính thẩm mỹ, an toàn và thuận lợi cho quá trình thi công xây dựng về sau.
Quy định chiều cao xây dựng nhà ở tại Hà Nội
Theo quy định hiện hành, chiều cao xây dựng nhà ở riêng lẻ tại Hà Nội được xác định dựa trên quy chuẩn xây dựng, quy hoạch chi tiết khu vực và chỉ giới đường đỏ. Cụ thể:
-
Chiều cao trung bình của một tầng nhà ở khoảng 3m, được tính từ mặt sàn tầng dưới lên mặt sàn tầng trên. Đây là mức phổ biến áp dụng cho nhà ở dân dụng riêng lẻ.
-
Chiều cao tối đa giữa các tầng từ tầng 2 trở lên không vượt quá 3,4m nhằm đảm bảo tổng chiều cao công trình phù hợp quy hoạch đô thị.
-
Trường hợp ban công nhô ra khỏi ranh lộ giới, chiều cao tính từ mặt vỉa hè đến đáy ban công tối đa là 3,5m để đảm bảo an toàn giao thông và không gian đô thị.
-
Độ cao sàn ban công được phép tối đa 3,8m tính từ mặt vỉa hè.
Việc tuân thủ đúng quy định chiều cao xây dựng nhà ở Hà Nội là điều kiện bắt buộc khi xin giấy phép xây dựng, đặc biệt với các công trình cao tầng như nhà 6 tầng, nhà 7 tầng trong khu vực nội đô.
Thủ tục xin giấy phép xây dựng nhà 7 tầng tại Hà Nội
Đối với các công trình nhà ở riêng lẻ 7 tầng, chủ đầu tư cần thực hiện đầy đủ quy trình xin giấy phép xây dựng theo quy định pháp luật. Các bước cơ bản gồm:
Bước 1 Chuẩn bị hồ sơ xin giấy phép xây dựng
Chủ đầu tư cần chuẩn bị 02 bộ hồ sơ xin giấy phép xây dựng nhà 7 tầng tại Hà Nội, bao gồm:
-
Đơn đề nghị cấp giấy phép xây dựng theo mẫu quy định
-
Giấy tờ pháp lý chứng minh quyền sử dụng đất hợp pháp
-
Bản vẽ thiết kế nhà ở phù hợp quy hoạch và tiêu chuẩn xây dựng
-
Hồ sơ phòng cháy chữa cháy và thẩm tra môi trường trong trường hợp công trình thuộc diện bắt buộc
Bước 2 Nộp hồ sơ tại cơ quan có thẩm quyền
Hồ sơ được nộp trực tiếp tại cơ quan cấp phép xây dựng trong giờ hành chính. Sau khi tiếp nhận, cơ quan chức năng sẽ kiểm tra và phản hồi:
-
Trường hợp hồ sơ hợp lệ, chủ đầu tư nhận giấy biên nhận và lịch hẹn trả kết quả
-
Trường hợp hồ sơ chưa đầy đủ, chủ đầu tư được hướng dẫn bổ sung và hoàn thiện theo quy định
Bước 3 Nhận giấy phép xây dựng
Theo lịch hẹn, chủ đầu tư đến nộp lệ phí và nhận kết quả. Thời gian giải quyết hồ sơ xin giấy phép xây dựng nhà ở riêng lẻ tại Hà Nội tối đa 15 ngày làm việc kể từ khi hồ sơ hợp lệ. Lệ phí cấp giấy phép hiện nay là 75.000 đồng cho mỗi giấy phép.
Một số lưu ý khi xin giấy phép xây dựng nhà cao tầng
-
Thời gian thực tế xin giấy phép xây dựng nhà 7 tầng có thể kéo dài do vướng quy hoạch, điều chỉnh thiết kế hoặc bổ sung hồ sơ pháp lý
-
Chi phí phát sinh trong quá trình xin phép có thể cao hơn dự kiến nếu không nắm rõ quy định
-
Đối với những gia chủ không có nhiều thời gian hoặc kinh nghiệm pháp lý, việc lựa chọn dịch vụ xin giấy phép xây dựng và xây nhà trọn gói tại Hà Nội là giải pháp tối ưu giúp tiết kiệm công sức và hạn chế rủi ro
Việc hiểu rõ quy định chiều cao xây dựng, thủ tục xin giấy phép xây dựng nhà ở Hà Nội ngay từ đầu sẽ giúp quá trình thi công diễn ra thuận lợi, đúng pháp luật và đảm bảo hiệu quả lâu dài cho công trình.
CÂU HỎI THƯỜNG GẶP
1. Đường lộ giới là gì? Cách xác định đường lộ giới
Đường lộ giới là ranh giới phân định giữa phần đất dành cho giao thông và phần đất được phép xây dựng công trình. Trên thực tế, lộ giới được xác định bằng khoảng cách tính từ tâm đường giao thông đến chỉ giới đường đỏ theo quy hoạch được phê duyệt.
Trong đó, chỉ giới đường đỏ là đường ranh giới bắt buộc, xác định phạm vi đất dành cho đường giao thông, hạ tầng kỹ thuật và các công trình công cộng. Phần đất nằm sau chỉ giới đường đỏ mới được phép xây dựng nhà ở.
Để người dân dễ dàng nhận biết và xây dựng đúng quy định, cơ quan nhà nước có thẩm quyền thường cắm mốc lộ giới tại hai bên đường.
Các cột mốc lộ giới này thường được làm bằng bê tông, có ghi rõ kích thước lộ giới và ký hiệu quản lý. Việc xác định đúng đường lộ giới giúp gia chủ tránh vi phạm quy hoạch, đảm bảo hồ sơ xin giấy phép xây dựng được chấp thuận thuận lợi.
2. Quy định mật độ xây dựng nhà ở tại đô thị
Mật độ xây dựng là tỷ lệ giữa diện tích chiếm đất của công trình xây dựng so với tổng diện tích lô đất. Đây là một trong những chỉ tiêu quan trọng khi thiết kế và xây dựng nhà ở tại đô thị.
Mật độ xây dựng tối đa là mức giới hạn cao nhất mà công trình được phép chiếm trên diện tích đất xây dựng. Chỉ tiêu này được quy định cụ thể trong các văn bản pháp luật và quy hoạch từng địa phương.
Ví dụ, theo Quyết định số 792/QĐ-UBND của UBND TP HCM, mật độ xây dựng tối đa đối với nhiều khu vực đô thị là 50%. Điều này có nghĩa là:
Việc tuân thủ đúng quy định mật độ xây dựng nhà ở đô thị không chỉ giúp công trình hợp pháp mà còn đảm bảo không gian sống thông thoáng, hạ tầng kỹ thuật và cảnh quan đô thị đồng bộ.
3. Quy định về khoảng cách giữa các công trình nhà ở riêng lẻ
Khi xây dựng nhà ở riêng lẻ hoặc các công trình dân dụng, chủ đầu tư cần đặc biệt lưu ý đến khoảng cách giữa các công trình nhằm đảm bảo an toàn, thông gió, chiếu sáng và phòng cháy chữa cháy.
Theo Nghị định số 100/2015/NĐ-CP về quy hoạch, xây dựng và quản lý công trình hạ tầng kỹ thuật đô thị, khoảng cách giữa các công trình phải đáp ứng các tiêu chuẩn kỹ thuật và điều kiện an toàn cho cư dân sinh sống.
Ngoài ra, khoảng cách xây dựng còn chịu sự điều chỉnh của:
-
Quy hoạch chi tiết, quy hoạch phân khu
-
Quy định về bảo vệ môi trường
-
Tiêu chuẩn an toàn cháy nổ
-
Quy định quản lý kiến trúc của từng khu vực
Do đó, trước khi xây dựng nhà ở, gia chủ nên tìm hiểu kỹ các quy định xây dựng nhà ở đô thị hoặc tham khảo tư vấn từ đơn vị thiết kế, thi công chuyên nghiệp để đảm bảo công trình đúng pháp luật và tối ưu công năng sử dụng.
4. Thủ tục phê duyệt quy hoạch xây dựng
Để triển khai xây dựng công trình nhà ở, chủ đầu tư bắt buộc phải tuân thủ đầy đủ các quy định liên quan đến quy hoạch xây dựng theo pháp luật hiện hành.

Trước khi khởi công, cần thực hiện thủ tục phê duyệt quy hoạch, đồng thời rà soát kỹ các chỉ tiêu quan trọng như chiều cao công trình, mật độ xây dựng, khoảng lùi, cũng như khoảng cách giữa các công trình theo đồ án quy hoạch đã được cơ quan có thẩm quyền phê duyệt.
Việc thực hiện đúng và đủ các thủ tục phê duyệt quy hoạch xây dựng không chỉ giúp công trình đảm bảo tính pháp lý mà còn hạn chế tối đa các rủi ro phát sinh trong quá trình xin giấy phép và thi công thực tế.
Bài viết trên A&G Việt Nam đã tổng hợp những nội dung cơ bản liên quan đến quy định chiều cao tầng nhà ở riêng lẻ. Việc tuân thủ nghiêm ngặt các quy định này sẽ giúp quá trình xây dựng nhà ở diễn ra thuận lợi, tránh vướng mắc về pháp lý, đất đai và đảm bảo công trình được nghiệm thu đúng quy định.
--------------------------------------------------
CÔNG TY CỔ PHẦN TƯ VẤN KIẾN TRÚC VÀ XÂY DỰNG A&G VIỆT NAM
- Trụ sở: Số 18/163 Vũ Hữu, Thanh Xuân Bắc, Thanh Xuân, Hà Nội
- Văn phòng: BT 56 - TT3C Khu nhà ở Quốc Hội - Trung Văn - NTL - HN
- Hotline: 098.1478.866
- Email: agjsc.vn@gmail.com
- Website: agjsc.vn